|
Kanały i kształtki prostokątne KP/KS typu A/I (felcowane) do nisko- i średniociśnieniowych instalacji wentylacji i klimatyzacji produkowane są w klasie szczelności B zgodnie z PN-EN 1505 i PN-EN 1507.
Materiał:
Grubość blachy:
Wykonanie:
Temperatura stosowania:
Zakres stosowalności kanałów z poszczególnych materiałów ogranicza wytrzymałość temperaturowa stosowanych uszczelniaczy.
Połączenia:
Standardowo kanały i kształtki zakończone są ramką montażową (P20/P30/P40) lub opcjonalnie z zakończeniami mufowymi (M), bosym końcem (BK), wywinięciem do montażu kratki (KR) lub czerpni (CZ).
Pola powierzchni:
Obmiar powierzchni przewodów wentylacyjnych prostokątnych jest zgodny z normą DIN 18379 za pomocą oprogramowania komputerowego.
Kanały wentylacyjne o powierzchnia <0,9 m2 są liczone jako kształtki.
Kształtki wentylacyjne o powierzchni < 1,0 m2 są liczone jako kształtka o powierzchni 1,0 m2.
Technologia |
Sztywność:
Kanały i kształtki prostokątne są usztywniane przez poprzeczne falowanie lub trapezowanie blachy.
Kanały dodatkowo są wzmacniane rurkami ocynkowanymi. Zasady usztywniania przewodów wentylacyjnych podano w tablicy.
| TAB.1 - ILOŚĆ WZMOCNIEŃ W WYKONANIU STANDARDOWYM | |||
|---|---|---|---|
| A [mm] | B [mm] | L [mm] | n |
| <1000 | <1000 | <1000 | 0 |
| <1000 | >1000 | <1000 | 1 |
| <1000 | 1000-1500 | <1000 | 2 |
| <1000 | 1500-2000 | 1500-2000 | 4 |
| 1000-1500 | 1000-1500 | <1000 | 1+1 |
| 1000-1500 | 1000-1500 | 1000-1500 | 2+2 |
Kolana i łuki są usztywniane za pomocą kierownic zgodnie z normą PN-EN 1505 „Przewody proste i kształtki wentylacyjne z blachy o przekroju prostokątnym”. Kolana zaleca się stosować w systemach o małej prędkości / ciśnieniu i przy mniejszych wymiarach boku a ≤ 400 mm. W kolanach i łukach o kątach ≤ 45°, kierownice nie są wymagane.
Grubości blach:
| TAB 2 - GRUBOŚCI BLACH W ZALEŻNOŚCI OD DŁUGOŚCI BOKU wg. PN-EN 1507 | ||
|---|---|---|
| wymiar dłuższego boku [mm] |
Grubość blachy w mm |
|
| Klasa niskociśnieniowa N |
Klasa średniociśnieniowa S |
|
| 0 - 500 | 0,6 | 0,7 |
| 501 -1000 | 0,8 | 0,9 |
| 1001 - 2000 | 1,0 | 1,1 |
| 2001 - 4000 | poza normą | poza normą |
| TAB 3 - RAMKI W PRZEWODACH I KSZTAŁTKACH WENTYLACYJNYCH W WYKONANIU STANDARDOWYM | |||
|---|---|---|---|
| Wielkość ramek dobiera się w zależności od długości boku | |||
| długość większego boku [mm] | <1000 mm | >1001 mm | >2500 mm |
| szerokość profila | P20 | P30 | P40 |
Wymiarowanie |
Przykładowe schamaty wymiarowania elementów:
![]() Kanały prostokątne KP KP-[AxB/L] |
![]() Dyfuzory/Konfuzory symetryczne KSDO KSDO-[axb/D/L] |
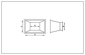
![]() Dyfuzory/Konfuzory symateryczne KSDP KSDP-[axb/AxB/L] |
![]() Łuki prostokątne KSL KSL-[axb/R] |
![]() Kolana prostokątne KSK KSK-[BxA/R] |
![]() Odsadzki prostokątne KSO KSO-[AxB/L z=...] |