|
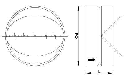
Przepustnica zwrotna KPZS przeznaczona jest do instalacji o przekroju kołowym. Zastosowanie tego typu elementów instalacji zapobiega ucieczce/migracji powietrza ciepłego lub przedostawaniu się powietrza zimnego w sytuacji zaniku sprężu, np. kiedy wyłączone są wentylatory kanałowe. Montaż może być wykonany zarówno po stronie ssawnej jak i tłocznej w dowolnym położeniu.
Konstrukcja:
Skrzydła przepustnicy dzięki odpowiednio dobranym sprężynkom otwierają się przy wystąpieniu stosunkowo niskiego nadciśnienia wkrótce po uruchomieniu wentylatora.
Montaż:
Przy montażu przepustnicy zwrotnej w instalacji pionowej należy zamontować klapę zgodnie z kierunkiem przepływu oznaczonym strzałką na obudowie klapy zwrotnej. Przy montażu w instalacji poziomej należy pamiętać, że oś przepustnicy zwrotnej musi być usytuowana w pozycji pionowej. Położenie to zapewnia jednakowy układ płaszczyzn przepustnicy zwrotnej podczas jej pracy.
Wykonanie:
Obudowa przepustnicy zwrotnej wykonana jest z blachy stalowej, ocynkowanej, skrzydła przegrody klapy z aluminium, sprężynki ze stali oksydowanej.
Dane techniczne |

| Wielkość | Średnica D [mm] |
Długość L [mm] |
|---|---|---|
| 0100 | 97 | 120 |
| 0125 | 122 | 120 |
| 0150 | 147 | 120 |
| 0160 | 157 | 120 |
| 0200 | 197 | 200 |
| 0250 | 247 | 200 |
| 0315 | 312 | 200 |
Charakterystyka |
