Zawór wywiewny ZW z ramką montażową przeznaczony do wyciągu powietrza w instalacjach nisko i średniociśnieniowych, w środowisku nieagresywnym o wilgotności względnej do 70%. Zalecany w szczególności do pomieszczeń sanitarnych dla wywiewu zużytego powietrza.
Montaż:
- na kanałach wentylacyjnych prostokątnych, w skrzynkach rozprężnych, w sufitach podwieszanych i w ścianach. Mocowanie w dodatkowym kołnierzu montażowym ocynkowanym.
Budowa:
- ramka czołowa oraz kierownica talerzowa wykonana z tłoczonych elementów z blachy stalowej.
- ramka czołowa posiada warstwę izolacji piankowej w celu zapewnienia szczelności po zmontowaniu z ramką montażową RM.
Materiał:
- blacha czarna.
Wykończenie powierzchni:
- powłoka lakiernicza proszkowa biała RAL 9010 lub na zamówienie inna zgodna z katalogiem RAL.
Regulacja przepływu:
- odbywa się poprzez obrót kierownicy talerzowej z przyspawaną śrubą regulacyjną.
- ustawianie przepływu powietrza odbywa się od czoła bez konieczności demontażu zaworu.
Certyfikaty:
- Atest higieniczny
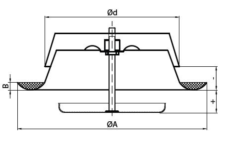
Dane techniczne

| d [mm] | A [mm] | B [mm] | m [kg] |
|---|---|---|---|
| 080 | 115 | 12 | 0,16 |
| 100 | 137 | 12 | 0,20 |
| 125 | 164 | 12 | 0,31 |
| 150 | 202 | 12 | 0,36 |
| 160 | 212 | 12 | 0,48 |
| 200 | 248 | 12 | 0,68 |
| 250 | 302 | 12 | 0,88 |

| d [mm] | L [mm] | m [kg] |
|---|---|---|
| 080 | 50 | 0,05 |
| 100 | 50 | 0,06 |
| 125 | 50 | 0,08 |
| 150 | 50 | 0,09 |
| 160 | 50 | 0,10 |
| 200 | 50 | 0,15 |
| 250 | 50 | 0,20 |
